MUZEN MW-P5I Pocket Angel Portable Bluetooth Speaker User Manual
- June 9, 2024
- MUZEN
Table of Contents
- MUZEN MW-P5I Pocket Angel Portable Bluetooth Speaker User Manual
- Tips:Please read the manual before use.
- Volume Knob
- Bluetooth Indicator
- Power switch
- Track Knob
- Lanyard loop
- Speaker
- 7 USB Charging port
- Features
- Model: MW-P5I
- Warning / Cautions
- Warranty
- Read More About This Manual & Download PDF:
- References
- Read User Manual Online (PDF format)
- Download This Manual (PDF format)
MUZEN MW-P5I Pocket Angel Portable Bluetooth Speaker User Manual
Tips:Please read the manual before use.
Packing List
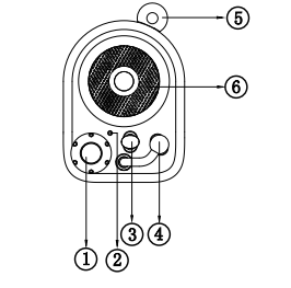
Operating Instructions for Host
Volume Knob
Volume up: Turn the knob clockwise
Volume down: Turn the knob counterclockwise
Pause/Play: Short press
Bluetooth Indicator
Indicator flashing: The Bluetooth can be connected
Indicator ON: The Bluetooth has been connected
Power switch
Power on: Move the slide switch upwards
Power off: Move the slide switch downwards
Track Knob
Last track: Move the toggle switch upwards
Next track: Move the toggle switch downwards
Reset the Bluetooth: Press the channel toggle switch and volume knob at the
same time for 3s
Lanyard loop
For lanyard installation
Speaker
For music playback
(Fragile part. Please do not press it hard)
7 USB Charging port
For device charge. (**Note: Plug in according
to the charging port direction of the device )
Features
- Super cute music companion, original design inspired by vinyl jukebox collide with vintage colors.
- The sound mode is automatically adjusted for different music types, making a surprising sound quality experience.
- Palm-sized body with a great energy of sound, adapted to a variety of scenarios, suitable for home, but also portable out.
- Easy one-handed control, fast Bluetooth connection, adhering to the product design concept of user-friendly experience.
Model: MW-P5I
To ensure safety, please read and follow the following safety instructions:
Dimension: 48mmx35.55mmx70.95mm (including the loop)
Net weight: ≈83.5g
Bluetooth: 5.0
Connection distance: 10m
Loudspeaker: 4Ω3Wx1
Amplifier power: 3W
Signal-to-noise ratio: >70dB
Frequency range: 120Hz-20KHz
Battery: 3.7V/400mAh
Charging port: Micro USB
Charging voltage: DC 5V 1A
Warning / Cautions
To ensure safety, please read and follow the following safety instructions:
- Please use this product in a dry environment.
- It is not allowed to place this product near any fire source or expose it to any fire source.
- The product is not waterproof, which must be noticed during use and storage.
- This product shall be used at an ambient temperature of 0-45℃ and it is recommended not to use it beyond this temperature range.
- Do not modify, repair or dismantle this product without authorization.
Warranty
Limited warranty: one year
For warranty details, please visit muzenaudio.com or contact our local
distributors.
Email: info@muzenaudio.com
Manufacturer: Shenzhen Airsmart Technology Co., Ltd.
Address: 12/F, Building A, Guangqi Future Center, No.88 Gaoxin
South 4th Rd, Yuehai Street, Nanshan, Shenzhen, PRC.
NOTE: This equipment has been tested and found to complywith the limits for a
Class B digital device, pursuant to part 15 of the FCC Rules. These limits
aredesigned to provide reasonable protection against harmful interference in a
residential installation. This equipment generates, uses and can radiate radio
frequency energy and, if not installed and used in accordance with the
instructions, may cause harmful interference to radio communications.
However, there is no guarantee that interference will not occur in a
particular installation. If this equipment does cause harmful interference to
radio or television reception, which can be determined by turning the
equipment off and on, the user is encouraged to try to correct the
interference by one or more of the following measures:
- Reorient or relocate the receiving antenna.
- Increase the separation between the equipment and receiver.
- Connect the equipment into an outlet on a circuit different from that to which the receiver is connected.
- Consult the dealer or an experienced radio/TV technician for help.
- Changes or modifications not expressly approved by the party responsible for compliance could void the user’s authority to operate the equipment
Read More About This Manual & Download PDF:
References
Read User Manual Online (PDF format)
Read User Manual Online (PDF format) >>